Casa> Notícias da Indústria> Coleção de processos de cabeçote a frio de parafuso de flange pequeno hexagonal

Coleção de processos de cabeçote a frio de parafuso de flange pequeno hexagonal

2026,04,29
11 Esquemas de conformação típicos para parafusos sextavados de flange pequeno
Introdução
O cabeçote a frio é o processo de formação de núcleo para pequenos parafusos hexagonais de flange, amplamente utilizado em automóveis, motocicletas, máquinas e montagem de precisão. O layout razoável da estação afeta diretamente a precisão dimensional, o nivelamento do flange, a plenitude do hexágono e a estabilidade da produção.
Este artigo coleta 11 processos típicos de cabeamento a frio especialmente projetados para parafusos sextavados de flange pequeno, abrangendo esquemas de 4 estações, 3 estações, 2 matrizes, 3 golpes e esquemas de curso duplo de estação única. Ele fornece parâmetros completos, incluindo equipamento, tamanho da peça bruta, material, fluxo da estação e taxa de deformação, servindo como referência técnica prática para fabricantes, projetistas de moldes e engenheiros de processo.
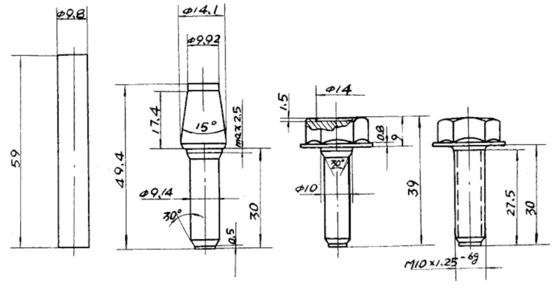
Processo de direção a frio de 1.4 estações
Equipamento aplicável: Máquina de encabeçamento a frio de 4 estaçõesFluxo de processo:
Estação 1: Redução do diâmetro da haste, inclinação da cabeça
Estação 2: perturbação secundária da cabeça
Estação 3: Formação hexagonal e de flange
Estação 4: Chanframento da extremidade da haste
Característica do processo: Processo padrão de cabeçalho a frio com formação estável.
Collection of Hexagon Small Flange Bolt Cold Heading Processes
2.2-Processo de cabeçote a frio com 3 golpes
Equipamento aplicável: Máquina de cabeçalho a frio de 2 matrizes e 3 golpes
Especificações em branco: d = 9,5 mm, L = 26,7 mm
Fluxo do Processo:
Estação 1: Redução do diâmetro da haste
Estação 2: 1. Pré-perturbação da cabeça
2.Formação final da cabeça sextavada com recesso e flange pequeno
Collection of Hexagon Small Flange Bolt Cold Heading Processes
3. Processo de cabeçote a frio de 3 estações (ligas de alta resistência)
Equipamento aplicável: Máquina de encabeçamento a frio de 3 estações. Materiais: aços-liga 38CrMnNiMo, 20Mn2B, 40CrNiMoA, aço ferrite-martensítico duplex 06CrMnB e outros materiais de baixa conformabilidade.
Fluxo do Processo:
Estação 1: Redução do diâmetro primário
Estação 2: formação de cabeça de 12 pontos + redução do diâmetro da haste secundária
Estação 3: Formação de extrusão de flange pequeno
Collection of Hexagon Small Flange Bolt Cold Heading Processes
4. Processo de direção a frio de estação única e curso duplo
Equipamento aplicável: Máquina de cabeçalho a frio de dois tempos e estação única Materiais : aço com aro 20 (σb = 420 ~ 480 MPa), aço 35 (σb≤520 MPa)
Fluxo do Processo:
1º curso: Redução do diâmetro da haste, chanframento final, pré-formação da cabeça cônica
2º curso: flange pequeno e perturbação da cabeça sextavada
Collection of Hexagon Small Flange Bolt Cold Heading Processes
5. Processo de direção a frio de 3 estações 13BOA-8φ
Equipamento aplicável: Máquina de cabeçalho frio de 3 estações 13BOA-8φ Especificação em branco : Diâmetro 10,3 mm, Comprimento 21,2 mm
Fluxo do Processo:
Estação 1: A extrusão direta reduz o diâmetro de 10,3 mm para 6,85 mm (taxa de redução: 56%)
Estação 2: Pré-retorno da cabeça cônica + chanfro da extremidade da haste
Estação 3: Retorcamento final da cabeça flangeada pequena; haste virada para 7,15 mm com chanfro
Collection of Hexagon Small Flange Bolt Cold Heading Processes
6. Processo de direção a frio de 3 estações 13BOA-8
Equipamento aplicável: Máquina de cabeçalho frio de 3 estações 13BOA-8 Especificação em branco: Diâmetro 8,1 mm, Comprimento 36,8 mm
Fluxo do Processo:
Estação 1: Diâmetro reduzido de 8,1 mm para 6,85 mm (taxa de redução: 28%)
Estação 2: Pré-retorno da cabeça cônica + chanfro da extremidade da haste
Estação 3: Formação final da pequena cabeça flangeada; haste virada para 7,15 mm com chanfro
Collection of Hexagon Small Flange Bolt Cold Heading Processes
7. Processo de cabeçote a frio de 4 estações (aço C14 Cr-Mn)
Equipamento aplicável: Máquina de encabeçamento a frio de 4 estações Material: Aço C14 Cr-Mn para extrusão a frio
Fluxo do Processo:
Estação 1: Redução do diâmetro primário
Estação 2: Chanframento da haste + conformação da cabeça cilíndrica
Estação 3: Retorcamento grosseiro da cabeça sextavada, flange pequeno e redução do diâmetro secundário
Estação 4: Acabamento de flange pequeno e hexágono
Collection of Hexagon Small Flange Bolt Cold Heading Processes
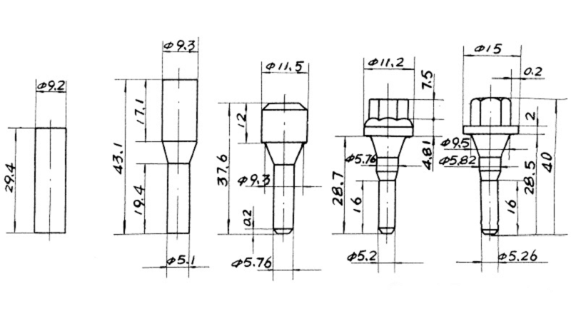
8. Processo de cabeçote a frio de 4 estações (cabeça primeiro, haste depois)
Equipamento aplicável: Máquina de encabeçamento a frio de 4 estações
Fluxo do Processo:
Estação 1: Pré-formação da cabeça
Estação 2: Formação de cabeça hexagonal
Estação 3: Redução do diâmetro da haste
Estação 4: Redução do diâmetro da haste secundária + chanframento
Collection of Hexagon Small Flange Bolt Cold Heading Processes
9. Processo de direção a frio de 3 estações 13BOA-8 (haste longa)
Equipamento aplicável: Máquina de cabeçalho frio de 3 estações 13BOA-8 Especificação em branco: Diâmetro 9,2 mm, Comprimento 56 mm
Fluxo do Processo:
Estação 1: Redução do diâmetro primário para 7,75 mm (taxa de redução: 29%)
Estação 2: Pré-retorno da cabeça cônica + chanfro da extremidade da haste
Estação 3: Redução do diâmetro secundário + formação final de cabeça sextavada com flange pequena (taxa de redução: 18%)
Collection of Hexagon Small Flange Bolt Cold Heading Processes
10. Processo de cabeçote a frio de 2 matrizes e 3 sopros (tipo geral)
Equipamento aplicável: Máquina de cabeçalho a frio de 2 matrizes e 3 golpes
Fluxo do Processo:
Estação 1: Redução do diâmetro da haste
Estação 2:
1. Pré-perturbador de cabeça
2.Formação final da cabeça
Collection of Hexagon Small Flange Bolt Cold Heading Processes
11. Processo de cabeçote a frio de 2 matrizes e 3 golpes (peças pequenas de precisão)
Equipamento aplicável: Máquina de cabeçalho a frio de 2 matrizes e 3 sopros Especificação em branco: d = 6,22 mm, L = 22,3 mm
Fluxo do Processo:
Estação 1: Redução do diâmetro da haste
Estação 2:
1. Pré-perturbador de cabeça
2.Formação final da cabeça
Collection of Hexagon Small Flange Bolt Cold Heading Processes
Contal -nos

Autor:

Mr. yjfastener

E-mail:

hou@citool.com

Phone/WhatsApp:

+8615826187211

Produtos populares
Você também pode gostar
Categorias relacionadas

Enviar e-mail para este fornecedor

Assunto:
E-mail:
mensagem:

Sua mensagem deve estar entre 20-8000 caracteres

We will contact you immediately

Fill in more information so that we can get in touch with you faster

Privacy statement: Your privacy is very important to Us. Our company promises not to disclose your personal information to any external company with out your explicit permission.

enviar